IMU MEMS de nível automotivo substituindo o MS313C para controle de orientação e medição de atitude.
A unidade de referência de atitude e direção MEMS U2500 de alta dinâmica é uma unidade inercial de seis eixos MEMS altamente confiável e econômica, amplamente aplicável aos campos de navegação, controle e medição representados pela robótica. As unidades de referência de atitude e direção da série U2500 integram giroscópios e acelerômetros MEMS de alto desempenho em uma estrutura independente. Os dispositivos passam por compensação para todos os parâmetros de temperatura, ponto zero, fator de escala, erro não ortogonal e termos relacionados à aceleração, garantindo alta precisão de medição por um longo período. Os giroscópios MEMS de três eixos da unidade de referência de atitude e direção detectam o movimento angular do veículo, enquanto os acelerômetros MEMS de três eixos detectam a aceleração linear do veículo, fornecendo as informações de atitude do veículo por meio da solução de navegação.
Número da peça, :
U2500Pedido (MOQ) :
1Séries e parâmetros do produto
| Parâmetro | U2500-A | U2500-B |
| Giroscópio | ||
| Faixa de medição (°/s) | ±500 | ±2000 |
| Posição zero de temperatura total (°/h) | ≤180 | ≤180 |
| Estabilidade de polarização zero (°/h, suavização de 10s) | ≤10 | ≤10 |
| Estabilidade de polarização zero (°/h, allan) | ≤2 | ≤2 |
| Repetibilidade com viés zero (°/h) | ≤10 | ≤10 |
| Caminhada aleatória em ângulo (°/√h) | ≤0,2 | ≤0,2 |
| Não linearidade do fator de escala (ppm) | ≤100 | ≤300 |
| Acoplamento cruzado (rad) | ≤0,001 | ≤0,001 |
| Largura de banda (Hz) | ≥200 | ≥200 |
| Acelerômetro | ||
| Faixa de medição (g) | ±16 | ±16 |
| Posição zero de temperatura total (mg) | ≤5 | ≤3 |
| Estabilidade de polarização zero (μg, suavização de 10s) | ≤300 | ≤300 |
| Instabilidade de polarização zero (μg, allan) | ≤40 | ≤30 |
| Repetibilidade de viés zero (μg) | ≤300 | ≤300 |
| Caminhada aleatória em velocidade (m/s/√h) | ≤0,04 | ≤0,04 |
| Não linearidade do fator de escala (ppm, ±1g) | ≤200 | ≤300 |
| Acoplamento cruzado (rad) | ≤0,001 | ≤0,001 |
| Largura de banda (Hz, ajustável) | ≥200 | ≥150 |
| Unidade de Referência de Atitude e Direção | ||
| Faixa de medição de inclinação (°) | ±90 | ±90 |
| Faixa de medição do ângulo de rotação (°) | ±180 | ±180 |
| Precisão de atitude horizontal (°, RMS) | Estado estacionário ≤ 0,1, dinâmico ≤ 1; | |
| Interface elétrica/mecânica | ||
| Fonte de alimentação (V) | +5 | +5 |
| Potência (W) | ≤1 | ≤1 |
| Tempo de inicialização (s) | ≤2 | ≤2 |
| Interface de comunicação | UART | UART |
| Taxa de atualização (Hz) | 1000Hz | 200Hz |
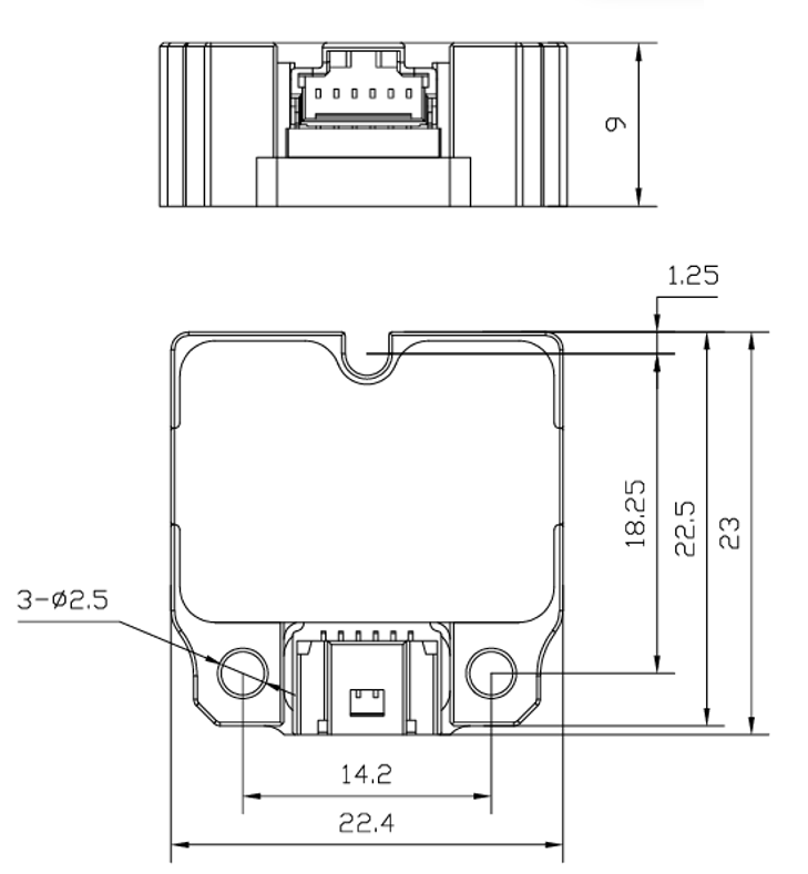
| Dimensões (mm×mm×mm) | 22,4×23×9 | 22,4×23×9 |
| Peso (g) | ≤20 | ≤20 |
| Ambiente operacional | ||
| Temperatura de operação | -40℃~80℃ | |
| Temperatura de armazenamento | -55℃~85℃ | |
| Vibração | 20~2000Hz, 6,06 (g, rms) | |
| Chocante | 1000g/1ms | |
Processo de produção
Dimensões do produto

Cenários de aplicação
Em temperaturas de -40 °C a +80 °C, U2500A calibração/compensação de temperatura completa permite a excitação rotacional de um único eixo para medir e calibrar com precisão o desvio zero do giroscópio desse eixo, a deriva de temperatura e o fator de escala.



Perguntas frequentes
O U2500 é um módulo MEMS de medição inercial de nível industrial e unidade de referência de atitude e direção. Trata-se de uma unidade MEMS de seis eixos altamente confiável e com excelente custo-benefício, projetada para aplicações de navegação, controle e medição, como robótica.
Q2. Quais são as principais características do U2500?
O U2500 apresenta componentes de nível industrial, giroscópios e acelerômetros de alta dinâmica e alta precisão, tamanho compacto, baixo peso, baixo consumo de energia, compensação de calibração de temperatura completa, amostragem de alta velocidade de 1 kHz, resistência a ambientes hostis, algoritmo de atitude adaptativo e atualização de software online.
Q3. Para quais aplicações o U2500 é adequado?
O U2500 é adequado para atitude de apoio e controle de robô aplicações.
Xml política de Privacidade blog Mapa do site
Direitos autorais @ Micro-Magic Inc Todos os direitos reservados.
REDE SUPORTADA