Instrumento de localização do norte de implantação rápida para uso em campo.
O NF3700 é utilizado para medir a velocidade angular relativa, o sinal de aceleração linear e a velocidade do veículo no espaço inercial, bem como o sinal de altitude, posição e atitude.
Este manual aplica-se ao uso diário e à manutenção do instrumento de atitude NF3700.
Número da peça, :
NF3700Pedido (MOQ) :
1Séries e parâmetros do produto
| NF3700-A | NF3700-B | |
| Precisão da pesquisa | ≤±0,3°RMS | ≤±0,5°RMS |
| Resolução de azimute | 0,01° | |
| Repetitividade | ≤±0,2° | |
| Hora de partir para o Norte | ≤5min | |
| Taxa de atualização | 100Hz | |
| Modo de operação | Estado Estático | |
| Tensão da fonte de alimentação | 24V (9~36VDC) | |
| Consumo de energia | ≤15W (Pico ≤20W) | |
| Peso | ≤1500g | |
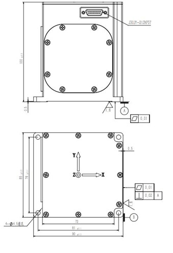
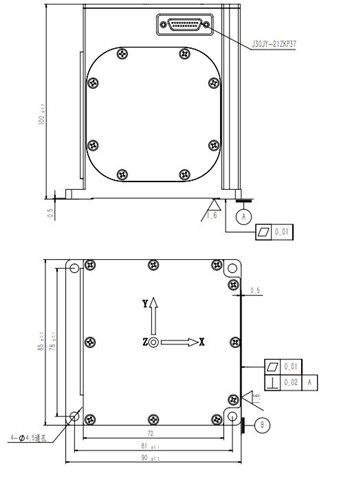
| Conector | J30JY-21ZKP37 | |
| Temperatura de trabalho | -20℃~+60℃ | |
| Temperatura de armazenamento | -40℃~+65℃ | |
| Modo de saída | RS422 | |
| Chocante | 10g-20g 11ms | |
| Tratamento de superfície | Anodização preta | |
| Níveis de proteção | IP65 | |
Processo de produção
Dimensões do produto

Figura 1: Diagrama esquemático do produto
Cenários de aplicação



Perguntas frequentes
Xml política de Privacidade blog Mapa do site
Direitos autorais
@ Micro-Magic Inc Todos os direitos reservados.
SUPORTADO POR REDE